八要素氣象站
發布日期:2025-01-16 13:28:15
八要素氣象站又稱八要素自動氣象站、八要素一體式氣象站,八要素氣象站是一款多要素環境監測儀器,能夠監測風速、風向、溫度、濕度、氣壓、pm2.5、pm10、噪聲8個氣象要素。


發布日期:2025-01-16 13:28:15
八要素氣象站又稱八要素自動氣象站、八要素一體式氣象站,八要素氣象站是一款多要素環境監測儀器,能夠監測風速、風向、溫度、濕度、氣壓、pm2.5、pm10、噪聲8個氣象要素。
一、八要素氣象站產品簡介
八要素氣象站又稱八要素自動氣象站、八要素一體式氣象站,八要素氣象站是一款多要素環境監測儀器,能夠監測風速、風向、溫度、濕度、氣壓、pm2.5、pm10、噪聲8個氣象要素。FT-CQX8超聲波八要素氣象站是一款高度集成、低功耗、可快速安裝、便于野外監測使用的高精度自動氣象觀測設備。
八要素氣象站免調試,可快速布置,廣泛運用于氣象、農業、林業、環保、海洋、機場、港口、科學考察、校園教育等領域。
與傳統的超聲波氣象站相比,我司產品克服了對高精度計時器的需求,避免了因傳感器啟動延時、解調電路延時、溫度變化而造成的測量不準問題。
八要素氣象站創新性的采用八要素一體式傳感器,可對風速、風向、溫度、濕度、氣壓、pm2.5、pm10、噪聲等氣象要素進行實時觀測,可實現戶外氣象參數24小時連續在線監測,通過數字量通訊接口將八項參數一次性輸出給用戶。
二、八要素氣象站產品特點
1、頂蓋隱藏式超聲波探頭,避免雨雪堆積的干擾,避免自然風遮擋(實用新型專利,專利號ZL 2020 2 3215713.X)☆
2、原理為發射連續變頻超聲波信號,通過測量相對相位來檢測風速風向(發明專利,專利號ZL 2021 1 0237536.5)☆
3、風速、風向、溫度、濕度、氣壓、pm2.5、pm10、噪聲八要素一體式傳感器(實用新型專利,專利號ZL 2020 2 3215649.5)☆
4、標配GPRS、藍牙、485轉USB三種傳輸方式
5、兩米碳鋼支架,頂部無需法蘭盤可直接套接傳感器(實用新型專利,專利號ZL 2020 2 3211795.0)
6、傳感器外殼采用進口ASA材質,更有效對抗鹽霧等環境,防護等級達到IP65以上
三、八要素氣象站技術參數
1、風速:測量原理超聲波,0~60m/s(±0.1m/s)分辨率0.01m/s;(發明專利,專利號ZL 2021 1 0237536.5)
2、風向:測量原理超聲波,0~360°(±2°);分辨率:1°;(發明專利,專利號ZL 2021 1 0237536.5)
3、空氣溫度:測量原理二極管結電壓法,-40-60℃(±0.3℃),分辨率0.01℃;(北京市氣象局校準證書)
4、空氣濕度:測量原理電容式,0-100%RH(±3%RH),分辨率:0.1%RH;(北京市氣象局校準證書)
5、大氣壓力:測量原理壓阻式,300-1100hpa(±0.25%),分辨率0.1hpa;(北京市氣象局校準證書)
6、PM2.5:測量原理光散射,0-1000ug/m3(±10%)
7、PM10:測量原理光散射,0-1000ug/m3(±10%)
8、噪聲:測量原理電容式,30-120dB(±1.5dB)
9、采集器供電接口:GX-12-3P插頭,輸入電壓5V,帶RS232輸出Json數據格式,采集器供電:DC5V±0.5V峰值電流1A,
10、傳感器modbus、485接口:GX-12-4P插頭,輸出供電電壓12V/1A,設備配置接口:GX-12-4P插頭,輸入電壓5V
11、太陽能供電、配置鉛酸電池,可選配30W 20AH/50W 40AH/100W 100AH.充電控制器:150W,MPPT自動功率點跟蹤,效率提高20%
12、數據上傳間隔:1分鐘-1000分鐘可調
13、7寸安卓觸屏,屏幕尺寸:1024*600 RGB LCD
14、整機取得國家氣象計量站校準證書
15、整機取得實用新型專利,專利號ZL 2020 2 3208599.8
16、生產企業具有ISO質量管理體系、環境管理體系和職業健康管理體系認證
17、生產企業具有計算機軟件注冊證書
18、生產企業為3A級信用企業
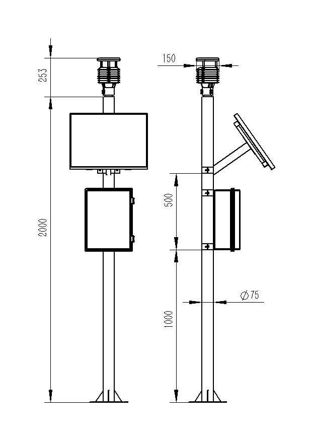
四、八要素氣象站產品尺寸圖

五、八要素氣象站產品結構圖

六、八要素氣象站上位機軟件介紹
1、PC單機版數據接收、存儲、查看、分析軟件
2、支持串口數據接收、處理、展示
3、支持json字符串、modbus485等通信方式
4、可自設置存儲時間,modbus485采集模式下可自設置采集時間
5、支持自助增加、刪除、修改監測參數的協議、名稱、圖標等
6、支持數據后處理功能
7、支持外置運行javascript腳本
七、八要素氣象站安卓APP介紹
1、安卓單機版數據接收、存儲、查看、分析軟件
2、支持藍牙數據接收
3、手機休眠后軟件后臺接收、處理
4、json數據自動添加設備,modbus設備支持掃碼添加設備
5、支持歷史數據查看、分析、導出表格,支持曲線展示、單數據點查看。
6、支持數據后處理功能
7、支持外置運行javascript腳本
八、八要素氣象站云平臺介紹
1、CS架構軟件平臺,支持手機、PC瀏覽器直接觀測、無需額外安裝軟件。
2、支持多帳號、多設備登錄
3、支持實時數據展示與歷史數據展示儀表板
4、云服務器、云數據存儲,穩定可靠,易于擴展,負載均衡。
5、支持短信報警及閾值設置
6、支持地圖顯示、查看設備信息。
7、支持數據曲線分析
8、支持數據導出表格形式
9、支持數據轉發,HJ-212協議,TCP轉發,http協議等。
10、支持數據后處理功能
11、支持外置運行javascript腳本